SGA-900系列溫室氣體在線監測系統是深國安電子運用十多年環境監測經驗,專門針對碳達峰碳中和監管排放企業,所研發生產的一款多組分溫室氣體監測儀。核心采用深國安新型智能氣體傳感技術,不僅滿足國家標準《工業企業溫室氣體排放核算和報告通則》GB/T 32150-2015以及聯合國通過的《京都議定書》中規定的二氧化碳、氧化亞氮、甲烷、六氟化硫、氫氟碳化物、全氟碳化物、三氟化氮七種氣體,并且支持擴展氟利昂、氧氣、碳氫化合物、TVOC、PM2.5、PM10、溫濕度、大氣壓、風速、風向等參數,滿足用戶不同的監測需求;現已廣泛應用在鋼鐵、化工、電力、能源、煤炭等行業。
一、項目背景
溫室氣體的排放而導致全球氣候變暖,在近年來成為國際社會廣泛關注的問題。我國為了積極應對氣候變化,不僅出臺了一系列相關措施與標準,并提出碳排放在2030年前達到峰值,力爭2060年前實現碳中和。同時,倡導節能減排,發展清潔能源,推進社會的可持續發展。
二、溫室氣體的主要成分
根據《工業企業溫室氣體排放核算和報告通則》GB/T 32150-2015以及聯合國通過的《京都議定書》中的內容,明確了溫室氣體的主要成分為二氧化碳、氧化亞氮、甲烷、六氟化硫、三氟化氮、氟利昂等氣體。

三、溫室氣體在線監測系統產品簡介
SGA-900系列溫室氣體在線監測系統是深國安電子運用十多年環境監測經驗,專門針對碳達峰碳中和監管排放企業,所研發生產的一款多組分溫室氣體監測儀。核心采用深國安新型智能氣體傳感技術,不僅滿足國家標準《工業企業溫室氣體排放核算和報告通則》GB/T 32150-2015以及聯合國通過的《京都議定書》中規定的二氧化碳、氧化亞氮、甲烷、六氟化硫、三氟化氮、氟利昂等氣體,并且支持擴展氧氣、碳氫化合物、TVOC、PM2.5、PM10、溫濕度、大氣壓、風速、風向等參數,滿足用戶不同的監測需求;現已廣泛應用在鋼鐵、化工、電力、能源、煤炭等行業。
SGA-900系列溫室氣體在線監測系統由采樣、預處理裝置、智能溫控裝置、數據處理分析、數據存儲、數據顯示、數據上傳等單元組成,系統具有高溫采樣、除水過濾、精度度、穩定性強等特點。內置進口高性能真空泵、可以遠距離采樣;預處理裝置,有效過濾檢測環境中的細微雜質;智能溫控控制裝置,確保檢測分析精度;數據處理以及分析單元將實時顯示監測氣體的濃度值,并可通過系統進行存儲、導出、打印,也可通過無線傳輸將數據傳輸至企業平臺、環保局平臺或深國安物聯網平臺,進行統一管理;
SGA-900系列溫室氣體在線監測系統內置的傳感器具有獨立氣室,能充分快速有效的反饋目標氣體濃度值;采用工業級高精觸摸屏,可實時顯示當前濃度值、最大值、最小值、1分鐘、1小時平均值等,并可選取任意時間段的歷史數據,查詢、進行曲線顯示;零點自動校準、基準線自動調整,確保數據穩定。一體式聲光報警器,氣體濃度超標系統自動本地報警,也可通過物聯網平臺設置臨界報警、區間報警、掉線報警等多種報警方式,通過短信、郵箱、微信等,第一時間將報警信息發送給相關人員。針對高溫環境中監測溫室氣體,還可選配深國安耐高溫型探桿,支持最高在800℃的環境下直接采樣使用。
產品別稱:
溫室氣體在線監測系統、多參數型溫室氣體監測系統、在線式溫室氣體監測儀、連續在線監測型溫室氣體系統、溫室氣體傳感器、溫室氣體濃度監測系統、溫室氣體分析儀、溫室氣體監測分析儀、溫室氣體排放分析儀
◆1-10種溫室氣體參數任意組合,實時掌握監控地點的氣體排放濃度和規律
任選溫室氣體在內的1-7個指標,并可拓展至10種目標氣體
目標氣體可進行任意組合、技術原理不限、檢測范圍不限
同時支持氣象PM2.5、PM10、溫濕度、風速風向、大氣壓的監測
◆友好人機界面,完美展現各項監測數據
工業級高清7英寸觸摸屏,監測數據,一目了然
實時顯示監測指標的實時值、單位值、最大值、最小值、1分鐘和1小時平均值
可查詢任意時間段的歷史數據,并曲線圖形顯示
◆系統兼容性、擴展性強,功能強大
兼容電化學、MOS、PID、催化、紅外線、半導體等傳感器技術原理
兼容國外一線品牌氣體傳感器
兼容目標的氣體不限,1000多種氣體和量程均可專屬定制,實現同時在線監測
◆智能傳感技術,自動識別擴展,一機多用
內置深國安預標定好的智能氣體傳感器,即插即用,自動識別
可通過更換不同的智能氣體傳感器,實現對現有10種氣體以外的氣體進行檢測,一機多用,節約成本
作為易耗品的氣體傳感器壽命到期后,不需拆卸和返廠,直接更換智能氣體傳感器即可,維護方便
◆反應靈敏、測量精準、精確度高、
采用深國安專利技術32位處理芯片,核心傳感器可以精準識別到ppb級別的目標氣體濃度
深國安100%選用國外原裝進口氣體傳感器,極大地保障了產品安全性和穩定性
全量程溫濕度補償和深國安專利數據修正功能,確保惡臭系統在不同環境下的長期使用
◆進口真空泵、多重過濾保護裝置、傳感器專用氣室
原裝進口真空泵,提供穩定平穩氣流
兩級高效過濾器、除水、除塵、干燥
傳感器專屬定制氣室,目標氣體充分有效反應檢測
◆智能校準、多種數據修正模式,確保數據穩定
零點自動校準
智能數據補償
K值智能算法
標氣目標點校準
◆多種信號輸出可選,傳輸多樣化
深國安提供有線遠程方式有:RS485、RS232
深國安提供無線遠程方式有:GPRS
◆大容量數據存儲,記錄安全每一刻
內置大容量存儲卡,支持10萬條以上數據存儲
自由設置數據存儲間隔時間
用U盤可導出數據,數據格式為EXCEL
◆智能溫控裝置,嚴苛環境,應對自如
獨特雙層保護箱納米防護涂層技術設計,確保通風、散熱、耐日曬雨淋、抗酸、抗堿、防腐,保障安全檢測;
工業級EMC模塊,二級防雷,可在強磁和高靜電環境下正常使用
智能溫控裝置,無論現場環境高達100℃還是-40℃,都可以保持儀表采樣溫度恒定在25℃左右。
另有深國安專用的高溫探針,支持最高800℃環境下直接采樣使用
◆資質齊全、廠家直銷
深國安先后獲得100多項國家專利和榮譽證書,包括ISO9001質量管理體系認證、ISO14001環境管理體系認證、CPA型式批準證書、國家防爆證、實用新型專利、外觀專利、CE證書、ROHS證書、國家檢測報告、第三方計量校準證書、軟件企業認證證書、中國儀器儀表會員單位、中國氣體檢測儀十大品牌、質量.服務.信譽AAA企業、高新杯科技小巨人獎、中國綠色環保名優企業等



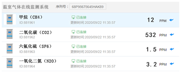
物聯網平臺
深國安SGA-900系列溫室氣體在線監測系統支持無線上傳深國安物聯網平臺。通過物聯網平臺直接讀取檢測數值,查看氣體檢測狀態,生成歷史曲線,分析氣體檢測數值等。還可對各個氣體監測設備進行定位,實現氣體檢測的工業化、數據化、智能化管理、提升工作效率。滿足客戶氣體監測的需求。
設備工作狀態

設備定位

歷史記錄

報警記錄
